
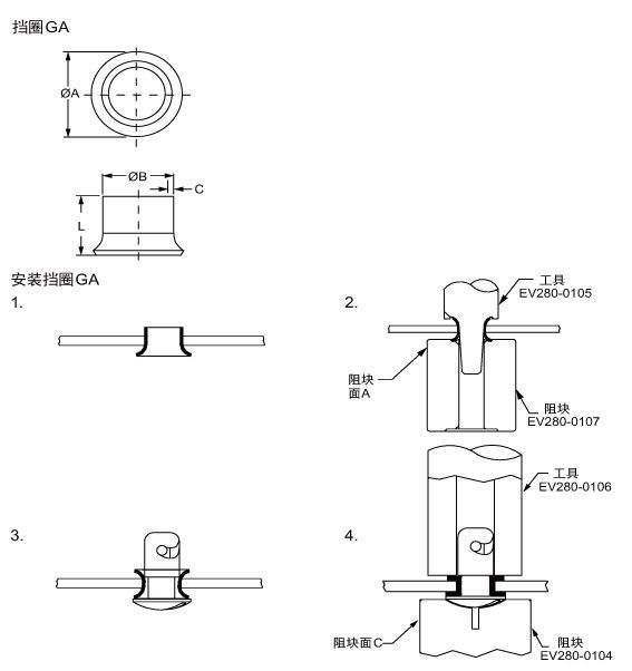
安装说明 | 1. 将挡圈插入面板孔 2. 固定挡圈 3. 插入螺栓 4. 压平挡圈 |
材料与表面处理 | 挡圈GA:铝,本色 |
注意 | 更多尺寸及类型可供选择,详情请联系我司营业人员 |
| 尺寸 | 面板厚度 | L | 零件号 | φ A | φ B | C | 调节值 | 安装工具零件号 |
| 3 | 0.38 - 0.64 | 4.45 | EV106-01040015 | 7.9 | 5.6 | 0.38 | 增加0.38 | EV280-01050001 EV280-01070001 EV280-01060001 EV280-01040001 (均需要) |
| 0.66 - 1.27 | 5.08 | EV106-01040016 | ||||||
| 1.29 - 2.38 | 6.35 | EV106-01040017 |
Copyright © 2026 义文www.evan.com.cn 版权所有
沪ICP备05026953号-1
沪11公网安备 31011502007050号